Přejít k hlavnímu obsahu

Chytřejší a levnější elektrické motorky. Kawasaki přebírá nápad z automobilového průmyslu

Josef Mika 20.03.2026
Kawasaki Ninja
Zdroj: Kawasaki

Nový patent ukazuje, že Kawasaki vyvíjí modulární platformu pro elektrické motocykly. Taková technologie by mohla snížit náklady na vývoj a umožnit výrobu cenově dostupnějších modelů.

Kapitoly článku

Kawasaki zřejmě pracuje na nové generaci elektrických motocyklů. Nedávno zveřejněný patent představuje koncept, který by mohl výrazně zvýšit flexibilitu pohonu. Výrobce sází na modulární systém, v rámci kterého lze do stejného rámu motocyklu montovat různé elektromotory.

Jeden rám – více motorů

U mnoha elektrických motocyklů je pohon přímo integrován do rámu. Motor a baterie jsou často součástí nosné konstrukce. To sice zajišťuje stabilitu a dobrý výkon, ale ztěžuje výrobu variant s různými výkony motoru. 

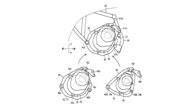
Podle patentu, který si Kawasaki přihlásilo, volí tento výrobce jiný přístup. Motor není připevněn přímo k rámu. Místo toho je mezi rámem a pohonnou jednotkou umístěna další součást, jakási mezirámová konstrukce.

Kawasaki patent
Zdroj: Kawasaki
Tento výkres je součástí nového patentu Kawasaki.

Vyměnitelný pomocný rám jako klíčový prvek

Tento „mezirám“ se skládá ze dvou částí: horního a spodního segmentu. Obě části lze vyměnit nebo přizpůsobit. Díky tomu může Kawasaki montovat různé motorové nebo převodové jednotky, aniž by musela vždy vyvíjet zcela nový rám motocyklu.

Základní design připomíná již dostupné elektromotocykly Kawasaki Z e-1 a Ninja e-1. Oba modely využívají ocelový trubkový rám s odnímatelnými bateriovými moduly mezi rámovými lištami a motorem v blízkosti uchycení kyvné vidlice.

Díky novému patentu by nová platforma Kawasaki byla výrazně flexibilnější. Různé výkonové úrovně by pak bylo možné realizovat s minimálními úpravami.

Kawasaki patent
Zdroj: Kawasaki
Pomocný rám se skládá ze samostatných horních a dolních částí, z nichž každou lze snadno vyměnit a upravit tak, aby poskytovala různé body pro uchycení motoru.

Naděje na levnější elektromotocykly

Taková modulární konstrukce by výrobcům mohla přinést několik výhod. Lze snížit náklady na vývoj a výrobu, protože více komponentů zůstává u různých modelů stejných. V automobilovém průmyslu sázejí koncerny na koncept platforem již dlouhou dobu.

Trhu s elektrickými motocykly by takový technický posun výrazně prospěl. Mnoho modelů je v současné době o dost dražších než srovnatelné benzínové stroje. Společná platforma s vyměnitelnými motory by mohla pomoci rychleji uvádět na trh nové varianty a v dlouhodobém horizontu snížit ceny.

Zatím se však jedná pouze o patent. Zda a kdy Kawasaki tento koncept skutečně uvede do sériové výroby, není známo. Jasné však je, že japonský výrobce zjevně pracuje na řešeních, která by rozšířila jeho nabídku elektrických modelů.

Zdroj: Electrek, Cycle World

Mohlo by vás zajímat

Video tipy ze světa technologií od redakce Chip.cz –

Máte k článku připomínku? Napište nám

Seznam diskuze

Mohlo by se vám líbit








Všechny nejnovější zprávy

doporučujeme


bezpečnost

Tipy a triky