Google chce revoluci v bezdrátovém nabíjení
Technici Google uchopili problém bezdrátového nabíjení mobilů doslova z druhé strany. Namísto zad smartphonu by inovativní technologie měla umožnit nabíjení přes displej. Nový koncept naznačuje možnou budoucnost bezdrátového nabíjení, kdy se mobilní telefony, ale i další kompatibilní přenosná technika, bude moci nabíjet mnohem univerzálnějším způsobem.
Tradiční bezdrátové nabíjení, tak jak jej známe doposud, zahrnuje položení smartphonu na nabíjecí podložku tak, aby se jí dotýkal zadní stranou. Tudy totiž probíhá přenos energie.
Patent Googlu navrhuje alternativu, kdy je nabíjecí cívka umístěna pod displejem a umožňuje přenos energie přes obrazovku. Nicméně řešení by mělo uživatelům dovolit nabíjet smartphone tak, aby obrazovka zůstala viditelná, tedy nebude nutné jej položit obrazovkou na nabíjecí podložku. Ani ve fázi dobíjení by tak uživatelé nepřišli o přehled, co se na displeji zařízení děje.
Nabíjení přes displej
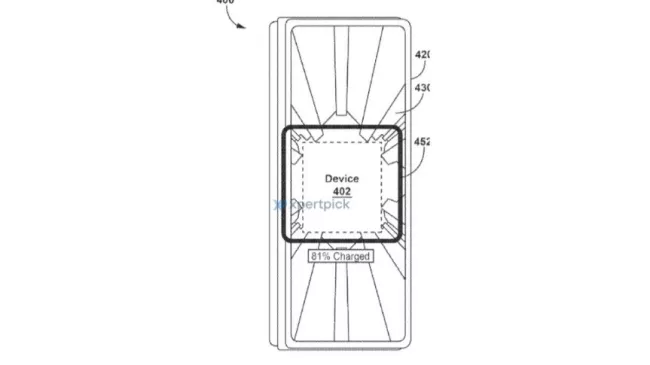
Funkci nového konceptu nabíjení lze usoudit z obrázku, který je součástí podaného patentu. Je zřetelně vidět naznačenou cívku pro bezdrátové nabíjení, která je umístěna pod displejem. Vše dokreslují i další ilustrace z jiných úhlů pohledu a příčný řez.
Dokument také zahrnuje úpravy stínící vrstvy displeje, které by měly usnadnit proces bezdrátového přenosu energie, a také zajistit jeho dostatečnou účinnost při zachování výkonu obrazovky.

Smartphone jako powerbanka
Patent popisuje dvě možnosti využití nového konceptu: zařízení fungující jako bezdrátový přijímač energie – tedy nabíjí se jeho akumulátor –, a zařízení ve funkci bezdrátového zdroje energie. V takovém případě smartphone supluje roli powerbanky. Druhá z uvedených metod by mohla pomoci při nabíjení různého příslušenství, jako například chytrých hodinek nebo sluchátek.
Nad vlastní realizací však ještě visí mnoho otazníků. Patenty často představují počáteční fázi výzkumu a nemusí se nutně přenést do reality. Ačkoliv řešení Google jistě představuje zajímavou možnost, zdaleka není jisté, kdy a zda vůbec ji Google uvede do praxe.
Zdroj: xPertPick